| Автор |
Сообщение |
|
|
| |
Заголовок сообщения: |
Re: 077-Запись сигналов IR-пульта на звуковую карту |
Цитата |
|
|
getchip.net У вас есть много своих разработок и ссылок на эти проги RCExplorer и SlyControl ,какие из ваших могут работать с RCExplorer и SlyControl для IgorPlug-USB или IgorPlug2 ? что бы через USB как IgorPlug-USB или IgorPlug2 с этой прог-ми могли работать через USB ? у вас есть такие? Если да дайте ссылку. заранее спасибо
getchip.net У вас есть много своих разработок и ссылок на эти проги RCExplorer и SlyControl ,какие из ваших могут работать с RCExplorer и SlyControl для IgorPlug-USB или IgorPlug2 ? что бы через USB как IgorPlug-USB или IgorPlug2 с этой прог-ми могли работать через USB ? у вас есть такие? Если да дайте ссылку. заранее спасибо
|
|
|
 |
Добавлено: 28 май 2020, 21:48 |
|
|
 |
|
|
| |
Заголовок сообщения: |
Re: 077-Запись сигналов IR-пульта на звуковую карту |
Цитата |
|
|
здравствуйте! есть ли у кого уже созданная база записей пультов, мне нужна запись пульта телевизора Thomson 20MG77c шасси TX91G. (пульт RCT3003\RCT3004).
здравствуйте! есть ли у кого уже созданная база записей пультов, мне нужна запись пульта телевизора Thomson 20MG77c шасси TX91G. (пульт RCT3003\RCT3004).
|
|
|
 |
Добавлено: 30 май 2012, 04:38 |
|
|
 |
|
|
| |
Заголовок сообщения: |
Re: 077-Запись сигналов IR-пульта на звуковую карту |
Цитата |
|
|
[quote="bei3"] а что вы не поняли? [/quote] Что изображено на картинке и ваш вопрос. Потом долго думал при чем абстрактная картинка и общий провод. подсознание конечно поняло что разговор о схеме соединения. Но вот сознание схему в таком виде воспринимать отказалась. :oops:
|
|
|
 |
Добавлено: 01 фев 2012, 22:08 |
|
|
 |
|
|
| |
Заголовок сообщения: |
Re: 077-Запись сигналов IR-пульта на звуковую карту |
Цитата |
|
|
[quote="anatoliy"]:shock: Я даже вопроса не понял. :lol:[/quote] :D
|
|
|
 |
Добавлено: 01 фев 2012, 21:20 |
|
|
 |
|
|
| |
Заголовок сообщения: |
Re: 077-Запись сигналов IR-пульта на звуковую карту |
Цитата |
|
|
[quote="anatoliy"]:shock: Я даже вопроса не понял. :lol:[/quote] а что вы не поняли?
в этом я разобрался. но записаны сигнал от пульта не работает. в этом сейчас разобраться.
|
|
|
 |
Добавлено: 01 фев 2012, 20:57 |
|
|
 |
|
|
| |
Заголовок сообщения: |
Re: 077-Запись сигналов IR-пульта на звуковую карту |
Цитата |
|
 Я даже вопроса не понял. 
:shock: Я даже вопроса не понял. :lol:
|
|
|
 |
Добавлено: 01 фев 2012, 20:02 |
|
|
 |
|
|
| |
Заголовок сообщения: |
Re: 077-Запись сигналов IR-пульта на звуковую карту |
Цитата |
|
|
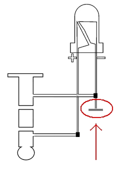
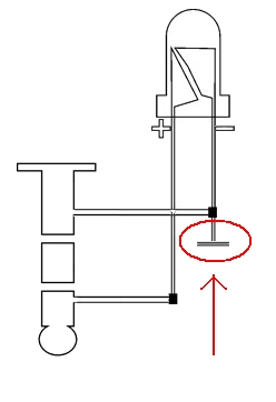
Общий «провод».
Общий «провод».
|
|
|
 |
Добавлено: 01 фев 2012, 19:59 |
|
|
 |
|
|
| |
Заголовок сообщения: |
Re: 077-Запись сигналов IR-пульта на звуковую карту |
Цитата |
|
|
здравствуйте. помогите пожалуйста и объясните как это собрать. не могу понять, что это обозначает? заранее благодарю.
| Вложения: |

2.JPG [ 19.35 КБ | Просмотров: 42189 ]
|
здравствуйте. помогите пожалуйста и объясните как это собрать. не могу понять, что это обозначает? заранее благодарю.
|
|
|
 |
Добавлено: 01 фев 2012, 13:17 |
|
|
 |
|
|
| |
Заголовок сообщения: |
Re: 077-Запись сигналов IR-пульта на звуковую карту |
Цитата |
|
|
Правильно поняли. Первый раз нужно запрограммировать прошивку (БИНфайл - созданный самой программой) в микроконтроллер при помощи понипрог (ну или другой программы). Если Вы надумаете поменять клавиши то уже не нужно будет прошивать кристалл - просто подключаем устройство к КОМ порту и записываем туда новые команды прямо из программки.
Правильно поняли. Первый раз нужно запрограммировать прошивку (БИНфайл - созданный самой программой) в микроконтроллер при помощи понипрог (ну или другой программы). Если Вы надумаете поменять клавиши то уже не нужно будет прошивать кристалл - просто подключаем устройство к КОМ порту и записываем туда новые команды прямо из программки.
|
|
|
 |
Добавлено: 31 окт 2011, 23:15 |
|
|
 |
|
|
| |
Заголовок сообщения: |
Re: 077-Запись сигналов IR-пульта на звуковую карту |
Цитата |
|
|
сформированным в программе BINом . Как его сформулировать? Как я понял надо сначало залить FlashCleared с пони прог. Потом подключить к комп порту и с помощью программа DvzRcEditor считывать и засивать коды.
сформированным в программе BINом . Как его сформулировать? Как я понял надо сначало залить FlashCleared с пони прог. Потом подключить к комп порту и с помощью программа DvzRcEditor считывать и засивать коды.
|
|
|
 |
Добавлено: 28 окт 2011, 17:34 |
|
|
 |